kopilkaurokov.ru - сайт для учителей

Создайте Ваш сайт учителя Видеоуроки Олимпиады Вебинары для учителей

Настройки зерновых сеялок на заданные условия работы

Нажмите, чтобы узнать подробности

Настройки зерновых сеялок на заданные условия работы

Вы уже знаете о суперспособностях современного учителя?
Тратить минимум сил на подготовку и проведение уроков.
Быстро и объективно проверять знания учащихся.
Сделать изучение нового материала максимально понятным.
Избавить себя от подбора заданий и их проверки после уроков.
Наладить дисциплину на своих уроках.
Получить возможность работать творчески.

Просмотр содержимого документа
«Настройки зерновых сеялок на заданные условия работы»

План урока

Разработал : Преподаватель Гриценко Иван Николаевич.

Дисциплина: МДК 04.01 Освоение профессии рабочих 19205

Тракторист-машинист с/х производства.

Тема урока: Настройки зерновых сеялок на заданные условия работы.



Группа








Дата








  1. ПРАВИЛА ПО ТЕХНИКЕ БЕЗОПАСНОСТИ ПРИ ВЫПОЛНЕНИИ ЛПЗ
  1. Общие требования безопасности.

    1. Все работы должны проводиться только под наблюдением преподавателя или лаборанта.

    2. Запрещается:

  • загромождать проходы

  • курить и применять открытый огонь

  • приносить на занятия посторонний не относящиеся к работе вещи, предметы.

  1. Требования безопасности перед началом работ.

    1. Прослушать инструктаж руководителя работ об особенностях выполнения работ на данный период.

    2. Проверить инструмент и оборудование на исправность и комплектность:

  • тиски должны быть прочно прикреплены к верстку, губки должны иметь хорошую насечку;

  • зубило и другие инструменты не должны иметь на ударной поверхности трещин и заусенец;

  • гаечные ключи должны соответствовать размерам гаек и головок болтов и не иметь трещин.

    1. Руководитель назначает дежурного студента на данный период работ.

3. Требования безопасности во время работ.

  • При разборке узлов на детали необходимо пользоваться съемниками.

  • Нельзя наращивать ключи другими ключами, трубами.

  • Разборку и сборку машин, оборудования проводить в том порядке, который предусмотрен инструкционной картой.

  • Нельзя производить сборку машин на случайных неисправных подставках, столах.

  • Проверку совпадений отверстий соединяемых деталей производить металлическим стержнем.

  • Нельзя очищать верстак или стеллаж непосредственно руками.

  • Пролитые на пол ГСМ необходимо убирать, а пол посыпать песком, тщательно вытирать мокрые и скользкие места полов.

  • Применения всякого рода подкладок между зевом ключа и гранями гаек, головок болтов недопустимо.

  • Включать рубильники, автоматы и пускатели без руководителя запрещается.

  • Запрещается оставлять посторонние предметы в разбираемых узлах, оборудовании.


4. Требования безопасности по окончании работ.

  1. Рабочий инструмент собрать и проверить и сдать руководителю работ.

  2. Привести в порядок рабочее место и сдать руководителю работ.

  3. При обнаружении неисправности, угрожающей безопасности дальнейших работ, доложить об этом руководителю.

2.ПЕРЕЧЕНЬ ФОРМИРУЕМЫХ КОМПЕТЕНЦИЙ

В результате изучения МДК.04.01. Освоение профессии рабочих 19205 Тракторист-машинист сельскохозяйственного производства студент должен обладать следующими знаниями и умениями:

иметь практический опыт:

- сборки сборочных единиц, узлов и механизмов машин, оборудования, агрегатов;

- регулировки и испытания сборочных единиц, узлов и механизмов машин, оборудования, агрегатов;

уметь:

- обеспечивать безопасность работ;

- выполнять сборку и регулировку простых узлов и механизмов;

- выполнять слесарную обработку и пригонку деталей с применением универсальных приспособлений;

- выполнять сборку узлов и механизмов средней сложности с применением специальных приспособлений;

- выполнять сборку сложных машин, агрегатов и станков под руководством слесаря более высокой квалификации;

- управлять подъемно-транспортным оборудованием с пола;

- выполнять строповку и увязку грузов для подъема, перемещения;

- выполнять подгонку натягов и зазоров, центрирование монтируемых деталей, узлов и агрегатов;

- устранять дефекты, обнаруженные при сборке и испытании узлов, агрегатов, машин;

- запрессовывать детали на гидравлических и винтовых механических прессах;

- участвовать в монтаже и демонтаже испытательных стендов, в сборке, регулировке и испытании сложных экспериментальных и уникальных машин под руководством слесаря более высокой квалификации;

- выполнять сборку, регулировку и отладку сложных машин, контрольно-измерительной аппаратуры, пультов и приборов, уникальных и прецизионных агрегатов и машин, подборку и сборку крупногабаритных и комбинированных подшипников;

- собирать, регулировать и испытывать узлы и механизмы средней сложности;

- устранять дефекты, обнаруженные при сборке и испытании узлов и механизмов;

- выполнять регулировку зубчатых передач с установкой заданных чертежом и техническими условиями боковых и радиальных зазоров;

- выполнять статическую и динамическую балансировку различных деталей простой конфигурации на специальных балансировочных станках с искровым диском, призмах и роликах;

- выполнять сборку, регулировку и испытание сложных узлов агрегатов, машин и станков;

- выполнять монтаж и демонтаж испытательных стендов;

- выполнять монтаж трубопроводов, работающих под высоким давлением воздуха (газа) и спецпродуктов;

знать:

- технику безопасности при работе;

- технические условия на собираемые узлы и механизмы, наименование и назначение рабочего инструмента;

- устройство и принцип работы собираемых узлов, механизмов и станков, технические условия на их сборку;

- конструкцию, кинематическую схему и принцип работы собираемых узлов механизмов, станков, приборов, агрегатов и машин;

- принципы взаимозаменяемости деталей и узлов;

- технические условия на установку, регулировку, испытания, сдачу и приемку собранных узлов машин и агрегатов и их эксплуатационные данные;

- приемы сборки и регулировки машин и режимы испытаний;

Результаты освоения междисциплинарного курса

Код

Наименование результата обучения

ПК 4.1

Управлять тракторами и самоходными сельскохозяйственными машинами всех видов в организациях сельского хозяйства.

ПК 4.2

Выполнять работы по возделыванию и уборке сельскохозяйственных культур в растениеводстве.

ПК 4.3

Выполнять работы по обслуживанию технологического оборудования для возделывания и уборки сельскохозяйственных культур в растениеводстве.

ПК-4.4

Выполнять работы по техническому обслуживанию тракторов, сельскохозяйственных машин и оборудования в мастерских и пунктах технического обслуживания.

ОК 1.

Выбирать способы решения задач профессиональной деятельности,

применительно к различным контекстам

ОК 2.

Осуществлять поиск, анализ и интерпретацию информации, необходимой для выполнения задач профессиональной деятельности

ОК 6.

Проявлять гражданско-патриотическую позицию, демонстрировать осознанное поведение на основе общечеловеческих ценностей

ОК 7.

Содействовать сохранению окружающей среды, ресурсосбережению,

эффективно действовать в чрезвычайных ситуациях


3.КРИТЕРИИ ОЦЕНКИ
  • оценка «отлично» выставляется обучающемуся, если все задания практической или лабораторной работы выполнены в полном объеме, без ошибок, в соответствии с требованиями инструкционной карты. Умения и навыки сформированы полностью;

  • оценка «хорошо» - если задания выполнены, но при этом имелось несколько расчетных ошибок незначительного характера. Умения и навыки сформированы полностью;

  • оценка «удовлетворительно» - если задания практической или лабораторной работы выполнены, но с большим количеством ошибок. Умения и навыки сформированы частично.

  • оценка «неудовлетворительно» - если не выполнено ни одно задание практической или лабораторной работы. Умения и навыки не сформированы.





Настройки зерновых сеялок на заданные условия работы

Цель: Сформировать практические навыки по регулировке сеялки на норму высева.

Закрепить теоретические знания.

Время: 2 часа.

Оборудование и материалы.

1. Зерновая сеялка.

2. Комплект инструментов

3. Обтирочный материал.

4. Учебная литература.

Задание.

  1. Описать последовательность регулировки зернотуковой сеялки, зарисовать схему.

  2. Ответить на контрольные вопросы.

Порядок выполнения работы.

Установка аппаратов на заданную норму высева семян и удобрений.

Установку сеялки, на норму высева проводят до выезда в поле. Сначала проводят расчет нормы высева семян q (кг) за определенное число оборотов опорно-приводных колес (обычно принимают 15 оборотов) по формуле:

 

где 15 - принятое число оборотов колеса сеялки;

      Q - заданная норма высева, кг/га;

      πD - длина обода колеса, м;

      В - ширина захвата сеялки, м; 

      α = 1,05 - коэффициент, учитывающий скольжение колес.

Значения  Q,  πD  и  В  выбирают из табл. 5 по указанию преподавателя. Число 2 в знаменателе формулы показывает, что расчет проводится лишь для половины высевающих аппаратов сеялки.

Проверку фактического высева семян осуществляют следующим образом. По диаграмме с учетом заданной нормы определяют длину рабочей части катушки.

Диаграмма зависимости нормы высева семян от длины рабочей части катушки при различных передаточных отношениях i сеялки СЗ-3,6А: П – пшеница, Р – рожь, О – овес, Гр – гречиха, Л – лен.

 

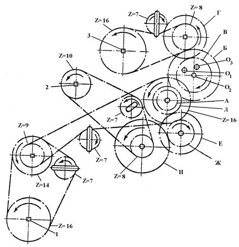
Схема механизма передач в редукторе сеялки СЗ-3,6А

Стремятся, чтобы норма высева обеспечивалась максимальным вылетом рабочей части катушек и минимально возможным передаточным отношением в схеме передач. При этом семена высеваются равномернее и меньше дробятся. В данном примере следует выбрать второй  вариант. С учетом рекомендаций таблицы в редукторе с помощью сменных шестерен устанавливают нужное передаточное отношение (в нашем примере i = 0,428).

Передача на вал зерновых аппаратов

Варианты

Число зубьев шестерни

Передаточное отношение

Высеваемая культура

Д

Е

Ж

И

1

17

25

17

30

0,198

Просо, гречиха

2

25

17

17

30

0,428

Пшеница

3

17

25

30

17

0,616

Ячмень

4

25

17

30

17

1,33

Овес

Устанавливают зазор между клапаном и нижним ребром муфты высевающего аппарата 1…2 мм при высеве семян зерновых культур (8…10 мм – при высеве зернобобовых) (рис. 3). Затем раму сеялки поддомкрачивают так, чтобы одно из колес могло свободно прокручиваться. Одну из половин семенного ящика заполняют семенами, а под сошниками расстилают брезент или под семяпроводы подвязывают мешочки. Приводное колесо прокручивают 2…3 раза, чтобы высевающие аппараты заполнились семенами.высыпавшиеся при этом семена собирают и высыпают обратно в семенной ящик. Вновь расстилают брезент под сошниками. На опорном колесе делают пометку (лучше мелом) и прокручивают его 15 раз с частотой, примерно, соответствующей скорости движения агрегата при посеве (около 40 оборотов в минуту). Высеянные семена собирают и взвешивают с точностью до 1 грамма. Полученную массу сравнивают с расчетной, определенной по формуле (1). Если расхождение с расчетным значением не превышает ± 3 %, то можно считать, что сеялка правильно установлена на заданную норму высева семян. Если на брезент высыпалась большая или меньшая масса семян, то регулятором нужно соответственно уменьшить или увеличить рабочую длину катушек и опыт повторить. После проверки рычаг регулятора закрепляют в установленном положении.

 

Установка зазоров

Вторую половину сеялки устанавливают на норму высева аналогичным способом. Можно сделать шаблон по длине рабочей части катушки первой половины сеялки. Таким шаблоном пользуются при проверке нормы высева семян сеялками в поле.

Туковысевающие аппараты зернотуковых рядовых сеялок имеют несдвигаемые в осевом направлении катушки со штифтами, поэтому количество высеваемых удобрений определяется лишь частотой вращения катушек. Норму высева удобрений можно несколько скорректировать изменением сечений выходных окон (задвижками) в задней стенке ящика. Меняя шестерни А, Б, В и Г, можно получить шесть передаточных отношений, обеспечивающих высев от 36 до 235 кг/га гранулированного суперфосфата. При высеве удобрений нормальной влажности зазор между штифтами катушек и клапанами устанавливают рычагами опорожнения ящиков равным 8...10 мм.

Передача на вал туковых аппаратов

Установка

Число зубьев шестерни

Центр установки

Передаточное отношение

Примерная норма высева гранулированного суперфосфата, кг/га

А

Б

В

Г

I

15

36

15

30

О1

0,067

36…38

2

15

36

25

30

О2

0,112

61....67

3

15

36

30

25

О2

0,160

86...95

4

36

25

15

30

О3

0,232

128...143

5

15

36

30

15

О1

0,268

133... 163

6

36

15

15

30

О1

0,386

199. ..235

 

Методика установки сеялки на заданную норму высева туков такая же, как и семян. Сеялка считается установленной на заданную норму высева удобрений, если фактические высевы отличаются от нормы не более чем на 10 %.


Контрольные вопросы:

1. Как отрегулировать глубину посева?

2. Как отрегулировать норму высева?

3. Как отрегулировать равномерность высева?



Преподаватель:


Получите в подарок сайт учителя

Предмет: Прочее

Категория: Уроки

Целевая аудитория: Прочее

Скачать
Настройки зерновых сеялок на заданные условия работы

Автор: Гриценко Иван Николаевич

Дата: 11.12.2025

Номер свидетельства: 678801


Получите в подарок сайт учителя

Видеоуроки для учителей


ПОЛУЧИТЕ СВИДЕТЕЛЬСТВО МГНОВЕННО

Добавить свою работу

* Свидетельство о публикации выдается БЕСПЛАТНО, СРАЗУ же после добавления Вами Вашей работы на сайт

Удобный поиск материалов для учителей

Проверка свидетельства